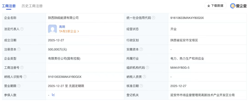
近日,陕西陕皖能源有限公司在陕西省延安市成立,出资高达50亿元,法定代表人为高明。该企业由大唐集团、延长石油、皖能集团等央国企合资成立。
经营范围包括一般项目:热力生产和供应;储能技术服务;碳减排、碳转化、碳捕捉、碳封存技术研发;节能管理服务;工程管理服务;煤炭及制品销售(除依法须经批准的项目外,凭营业执照依法自主开展经营活动)。许可项目:发电业务、输电业务、供(配)电业务;供电业务(依法须经批准的项目,经相关部门批准后方可开展经营活动,具体经营项目以审批结果为准)。

新公司由中国大唐集团二级全资子公司大唐陕西发电有限公司、陕西延长石油(集团)有限责任公司二级全资子公司陕西延长石油矿业有限责任公司,以及安徽省能源集团控股子公司延安皖能电力有限公司三家共同出资,前二者分别出资17亿元,持股34%;后者出资16亿元,持股32%。





